欢迎来到临沂市鼎兴电缆桥架有限公司官方网站
加入收藏
网站地图
联系我们
首页
走进鼎兴
产品中心
荣誉资质
企业文化
新闻中心
工厂车间
视频中心
联系我们
产品中心
托盘式直通桥架
梯级式直通桥架
槽式直通桥架
阻燃玻璃钢电缆桥架
铝合金电缆桥架
等径弯通
上下弯通
三通
四通
异径接头
立柱
XQJ电缆桥架附件
热门新闻
如何判断一个临沂桥架厂家实力怎么样
临沂桥架厂家安装之前要准备什么
选多款式防火桥架就在鼎兴桥架
网上购买防火桥架可信嘛
怎么判断临沂桥架质量好不好
如何判断防火桥架的承重能力
从即日起临沂桥架厂正式开工
常见的梯式桥架弯头有哪些
安装鼎兴桥架的要点是啥
临沂桥架本身的质量很重要
联系方式
临沂市鼎兴电缆桥架有限公司
地址:临沂市解放路与临西九路交汇处西300米路南
电话:0539-8375198
手机:13573926837
E-mail:2459754566@qq.com
网站:
当前位置:
首页
>
产品中心
>
XQJ电缆桥架附件
XQJ电缆桥架附件
隔板XQJ-TPC-07
调角片XQJ-TPC-04
直接片XQJ-TPC-02ab
调高片XQJ-TB-01B
调宽片XQJ-TB-01A
托臂XQJ-TB-04
托臂XQJ-TB-03
托臂XQJ-TB-02
托臂XQJ-TB-01B
托臂XQJ-TB-01A
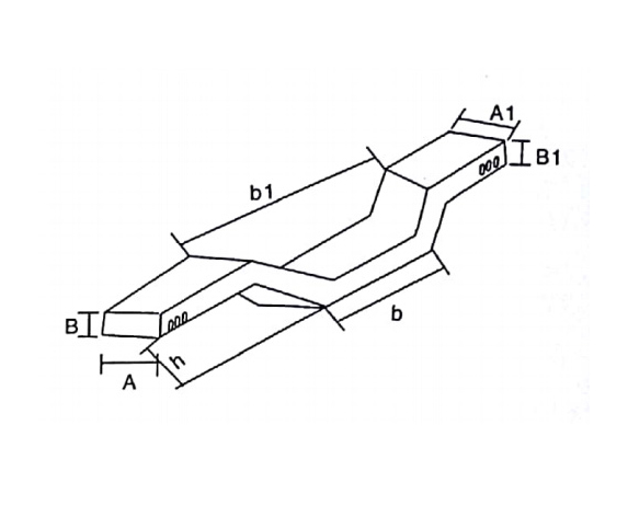
垂直右三通
垂直左三通·
45度水平弯通
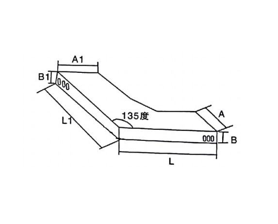
爬坡弯
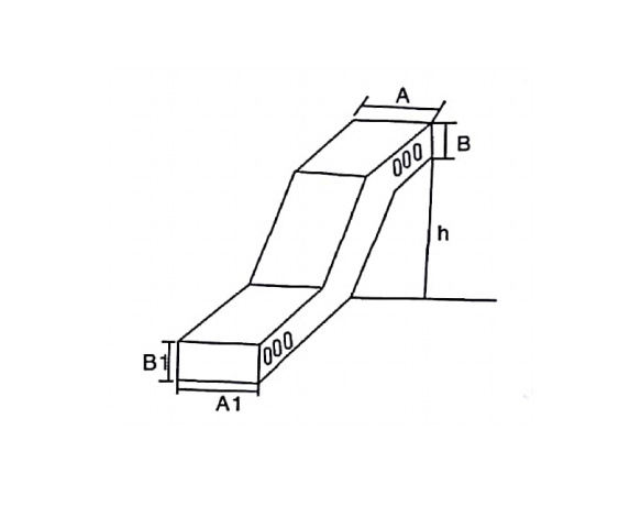
过桥弯
首页
上一页
1
下一页
尾页
在线客服
技术支持
产品咨询